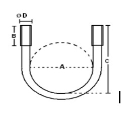
| GRAMPO TIPO “U” NOM (POL) | INTERNO A (MM) | QUANT. ROSCA B (MM) | ALTURA C (MM) | HASTE D (MM) |
|---|---|---|---|---|
| 3/8” | 19 | 25 | 44 | 1/4” |
| 1/2” | 24 | 35 | 53 | 5/16” |
| 3/4" | 29 | 35 | 63 | 5/16” |
| 1” | 35 | 40 | 68 | 5/16” |
| 1.1/4” | 44 | 40 | 73 | 5/16” |
| 1.1/2” | 51 | 40 | 81 | 5/16” |
| 2” | 62 | 50 | 100 | 3/8” |
| 2.1/2” | 75 | 50 | 109 | 3/8” |
| 3” | 91 | 50 | 130 | 3/8” |
| 3.1/2” | 106 | 50 | 150 | 3/8” |
| 4” | 118 | 55 | 158 | 3/8” |
| 5” | 144 | 70 | 198 | 1/2" |
| 6” | 172 | 100 | 238 | 5/8” |
| 8” | 222 | 100 | 287 | 5/8” |
| 10” | 276 | 105 | 355 | 3/4" |
| 12” | 328 | 110 | 382 | 3/4" |
| 14” | 359 | 120 | 430 | 3/4" |
| 16” | 420 | 120 | 510 | 3/4" |
| 18” | 463 | 120 | 574 | 7/8” |
| 20” | 514 | 120 | 585 | 7/8” |
| 22” | 570 | 120 | 665 | 1” |
| 24” | 615 | 120 | 705 | 1” |
| 26” | 662 | 120 | 743 | 1” |
| 28” | 715 | 120 | 807 | 1” |
| 30” | 765 | 120 | 856 | 1.1/4” |
| 32” | 815 | 130 | 905 | 1.1/4” |
| 34” | 870 | 130 | 963 | 1.1/4” |
| 36” | 920 | 130 | 1014 | 1.1/4” |
| 40” | 1020 | 150 | 1111 | 1.1/4” |
| 48” | 1230 | 180 | 1380 | 1.1/4” |